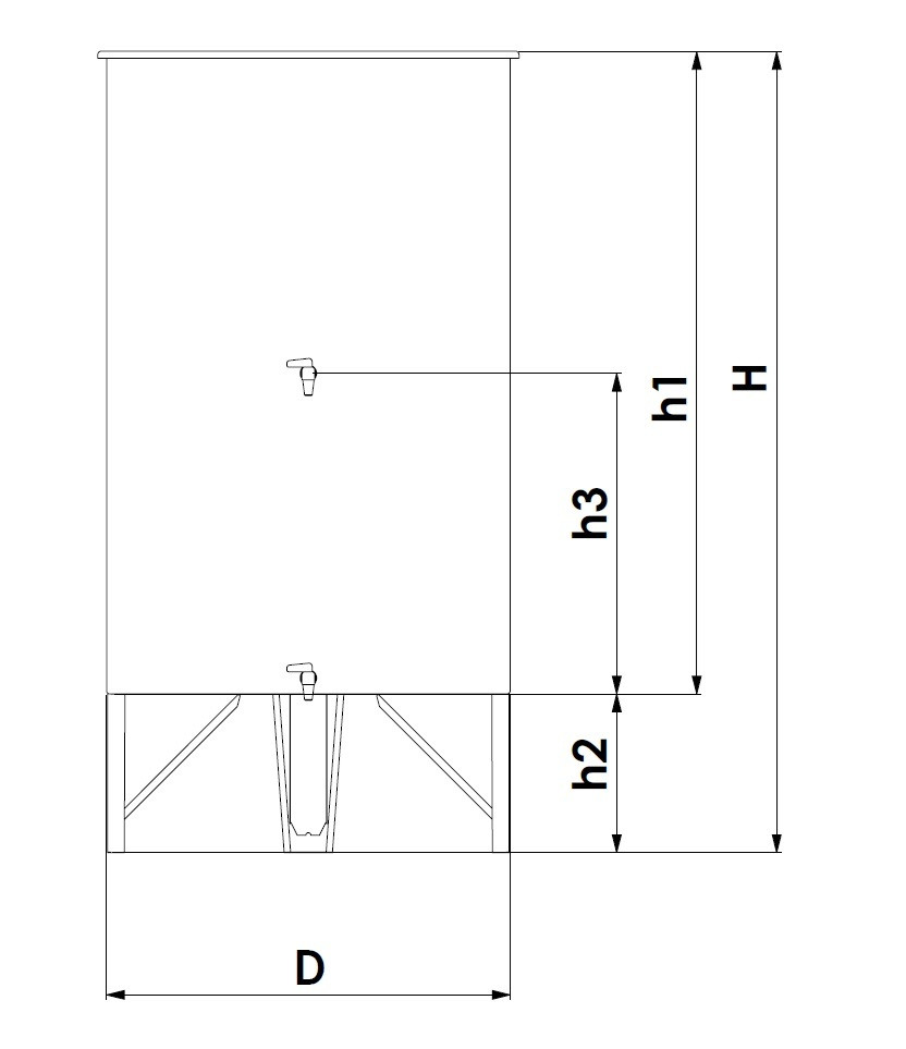
Rezervor Zottel (1.2) cu capac plutitor ulei de parafina 500 litri, 2 robinete CADOU CU ULEI DE PARAFINA!
5
2 860,92 RON
2 717,88 RON